대형 컨베이어 체인 연결 링크 스크류 록 링크

- 토크 렌치 하나로, 누구나 간단·안전·확실하게 절단 연결가 가능하게
- 위험하고 기술이 필요한 대형 컨베이어 체인 의 절단 연결 작업이, 토크 렌치 하나로 누구나 간단하게 실시할 수 있게 되는 연결 링크 입니다.
- 종래는 해머를 사용해 행해지고 있던 절단 연결 입니다만,
- · 위험
망치로 강하게 두드려야 하므로 파편이 비산하거나 손을 치는 등 산재의 위험이 있다 - · 기술 필요
제대로 수행하지 않으면 외부 플레이트가 너무 밀려서 굴곡 불량이 발생할 수 있습니다. - ・공수가 걸려 생산성에 영향
앞서 언급했듯이 기술이 필요하기 때문에 기술자의 준비가 필요한 것도 - ・대규모의 공구가 필요
체인이 커짐에 따라 대형 공구 및 지그가 필요한 경우도 - 등 다양한 과제가 있었다.
- 스크류 록 링크 라면, 토크 렌치로 너트를 지정의 토크로 조일 뿐이므로, 누구라도 간단·안전·신속·확실하게 절단 연결 작업을 실시할 수 있습니다.
카탈로그 · 취급설명서
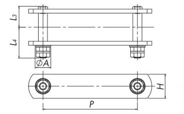
구조
너트부는 선택할 수 있는 2타입
핀의 길이를 최대한 억제한 쇼트 타입도 준비할 수 있습니다.
※하드 록 너트, 하드 록 베어링 너트는 하드 록 공업 주식회사의 상표 또는 등록 상표입니다.
주요 적용 가능한 제품
대형 컨베이어 체인 ATA사양
AT사양 비해 부시와 롤러 사이의 내마모 성능이 2배, 핀과 부시 사이의 내마모 성능이 1.5배, 최대 허용 장력 1.2배로 향상되었습니다.
그 외, 제작 가능한 사양에 대해서는 아래를 확인해 주십시오.
취급 요령
| ⚠ 주의 |
수평·경사·및 수직 어느 컨베이어의 경우도 체인 블록, 와이어 등으로 절단 연결 계부에 체인 장력이 걸리지 않도록 하고 절단 연결 작업을 해 주십시오. |
|---|
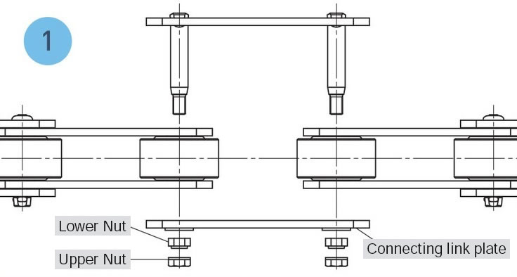
연결하는 방법
1. 너트를 제거하고 연결플레이트를 제거한 상태로 둡니다.
2. 체인의 양쪽 끝을 당겨 연결 링크 를 안쪽 링크의 이음새에 삽입하고 연결플레이트를 씌웁니다.
3. 아래 너트를 아래의 지정 토크로 조입니다. 너트 체결 시, 나사부의 유분이나 부착물은 웨스 등으로 닦아 주십시오.
4. 상단 너트를 아래와 같은 지정 토크로 조여 연결 완료입니다.
너트의 조임 토크(N・m) ※1
| RF10 | RF12 | RF17 | RF26 | RF36 | RF52 | RF60 | RF90 | ||
|---|---|---|---|---|---|---|---|---|---|
| 표준 타입 ※2 | 너트 사이즈 | M12×P1.75 | M12×P1.75 | M14×P2.0 | M16×P2.0 | M20×P2.5 | M24×P3.0 | M27×P3.0 | M30×P3.5 |
| 하단 너트 | 27~32 | 28~33 | 46~55 | 72~82 | 120~130 | 218~228 | 250~260 | 367~377 | |
| 상단 너트 | 27~32 | 28~33 | 46~55 | 72~82 | 120~130 | 218~228 | 250~260 | 367~377 | |
| 쇼트 타입 ※3 | 너트 사이즈 | M12×P1.0 | M12×P1.0 | M15×P1.0 | M17×P1.0 | M20×P1.0 | M25×P1.5 | M30×P1.5 | M35×P1.5 |
| 하단 너트 | 23~27 | 28~33 | 49~58 | 76~86 | 117~127 | 227~237 | 254~264 | 428~438 | |
| 상단 너트 | 16~19 | 16~19 | 28~33 | 37~44 | 55~65 | 80~90 | 115~125 | 130~140 | |
- ※1. 상기 표는 스틸 너트의 체결 토크입니다. 스테인리스제 너트의 체결 토크는 문의해 주십시오.
- ※2.아래 너트 체결 시 볼트가 돌출하므로 표준 타입은 딥 소켓의 사용을 권장합니다.
- ※3.쇼트 타입은 4 노치형 너트입니다. 걸쇠 스패너와 소켓을 사용하십시오.
자르는 방법
- 1. 상단 너트, 아래 너트 순서로 너트를 제거합니다.
※반송물등의 고착이나 부식의 영향에 의해 너트가 용이하게 떼어낼 수 없는 경우도 있습니다. - 2. 연결플레이트를 분리하고 연결 링크 를 안쪽 링크에서 분리합니다.
보수・점검의 주의
사용 환경이나 조건에 따라 너트의 풀림이나 탈락의 가능성이 있으므로 체인 가동 중에 너트의 풀림이 일어나지 않았는지 정기적으로 확인해 주십시오. (너트에는 마커로 합 마크를 넣으면 확인하기 쉬워집니다.)
상품 사양 일람
표준형
짧은 타입
| 사이즈 | 최대 허용 장력 | 최소 인장 강도 | 피치 P |
핀 | 너트 사이즈 | 연결부시 플랜지 직경 |
개략 부가 질량 (kg/개소) |
||||||
|---|---|---|---|---|---|---|---|---|---|---|---|---|---|
| 피팅 핀 | |||||||||||||
| DT kN{kgf} |
AT kN{kgf} |
DT kN{kgf} |
AT kN{kgf} |
L3 | 표준 유형 |
짧은 유형 |
표준 유형 |
짧은 유형 |
A | 표준 유형 |
짧은 유형 |
||
| L4 | L5 | ||||||||||||
| RF10100 | 17.6 {1790} |
32.3 {3290} |
107 {11000} |
169 {17000} |
100 | 33 | 48.5 | 42 | M12 | M12 | 25 | 0.13 | 0.08 |
| RF10125 | 125 | ||||||||||||
| RF10150 | 150 | ||||||||||||
| RF12200 | 26.6 {2710} |
39.9 {4060} |
160 {16500} |
249 {25500} |
200 | 40.5 | 55.5 | 49 | M12 | M12 | 28 | 0.17 | 0.11 |
| RF12250 | 250 | ||||||||||||
| RF17200 | 35.0 {3570} |
55.3 {5640} |
213 {22000} |
336 {34000} |
200 | 51.5 | 69.5 | 61.5 | M14 | M15 | 32 | 0.25 | 0.14 |
| RF17250 | 250 | ||||||||||||
| RF17300 | 300 | ||||||||||||
| RF26200 | 44.9 {4570} |
74.3 {7580} |
285 {29000} |
448 {45500} |
200 | 55.5 | 74 | 64 | M16 | M17 | 36 | 0.33 | 0.17 |
| RF26250 | 250 | ||||||||||||
| RF26300 | 300 | ||||||||||||
| RF26450 | 450 | ||||||||||||
| RF36250 | 68.0 {6930} |
97.4 {9930} |
457 {46500} |
614 {62500} |
250 | 66 | 91.5 | 78.5 | M20 | M20 | 42 | 0.55 | 0.26 |
| RF36300 | 300 | ||||||||||||
| RF36450 | 450 | ||||||||||||
| RF36600 | 600 | ||||||||||||
| RF52300 | 71.4 {7280} |
147 {15000} |
481 {49000} |
953 {97000} |
300 | 79 | 110 | 93.5 | M24 | M25 | 48 | 0.85 | 0.39 |
| RF52450 | 450 | ||||||||||||
| RF52600 | 600 | ||||||||||||
| RF60300 | 71.4 {7280} |
149 {15200} |
479 {49000} |
1010 {103000} |
300 | 72.5 | 104 | 86.5 | M27 | M30 | 55 | 1.18 | 0.53 |
| RF60350 | 350 | ||||||||||||
| RF60400 | 400 | ||||||||||||
| RF90350 | 113 {11500} |
233 {23700} |
754 {77000} |
1600 {163000} |
350 | 85.5 | 120.5 | 102 | M30 | M35 | 65 | 1.85 | 0.88 |
| RF90400 | 400 | ||||||||||||
| RF90500 | 500 | ||||||||||||
주)
- 1. 사용온도범위는 -20℃~150℃입니다. 사용온도범위외에서의 사용에 대해서는 당사에 상담해 주십시오.
- 2. 핀 길이 L4, L5가 L2 일반 핀보다 커집니다. 장치측과의 간섭을 확인해 주십시오.
- 3. 쇼트 타입의 너트 체결은 걸쇠 스패너나 소켓을 사용해 주십시오.
- 4. 어태치먼트 형식은 “쯔바키 대형 컨베이어 체인 & 스프로킷” 카탈로그를 사용해 주십시오
- 5. 위 표 이외의 사이즈(인치계 등)나 사양(스테인리스 사양 등)도 제작 가능한 경우가 있습니다. 상담해 주십시오.
가격・ 배달
DT사양 (표준 타입)
| 사이즈 | 부속품 | |||||||
|---|---|---|---|---|---|---|---|---|
| 없음 | A2 | K2 | GA2 | |||||
| 희망 가격 | 배달 | 희망 가격 | 배달 | 희망 가격 | 배달 | 희망 가격 | 배달 | |
| RF10100 | 문의하십시오 | 문의하십시오 | 문의하십시오 | 문의하십시오 | 문의하십시오 | 문의하십시오 | 문의하십시오 | 문의하십시오 |
| RF10125 | 문의하십시오 | 문의하십시오 | 문의하십시오 | 문의하십시오 | 문의하십시오 | 문의하십시오 | 문의하십시오 | 문의하십시오 |
| RF10150 | 문의하십시오 | 문의하십시오 | 문의하십시오 | 문의하십시오 | 문의하십시오 | 문의하십시오 | 문의하십시오 | 문의하십시오 |
| RF12200 | 문의하십시오 | 문의하십시오 | 문의하십시오 | 문의하십시오 | 문의하십시오 | 문의하십시오 | 문의하십시오 | 문의하십시오 |
| RF12250 | 문의하십시오 | 문의하십시오 | 문의하십시오 | 문의하십시오 | 문의하십시오 | 문의하십시오 | 문의하십시오 | 문의하십시오 |
| RF17200 | 문의하십시오 | 문의하십시오 | 문의하십시오 | 문의하십시오 | 문의하십시오 | 문의하십시오 | 문의하십시오 | 문의하십시오 |
| RF17250 | 문의하십시오 | 문의하십시오 | 문의하십시오 | 문의하십시오 | 문의하십시오 | 문의하십시오 | 문의하십시오 | 문의하십시오 |
| RF17300 | 문의하십시오 | 문의하십시오 | 문의하십시오 | 문의하십시오 | 문의하십시오 | 문의하십시오 | 문의하십시오 | 문의하십시오 |
AT사양 (표준 타입)
| 사이즈 | 부속품 | |||||||
|---|---|---|---|---|---|---|---|---|
| 없음 | A2 | K2 | GA2 | |||||
| 희망 가격 | 배달 | 희망 가격 | 배달 | 희망 가격 | 배달 | 희망 가격 | 배달 | |
| RF10100 | 문의하십시오 | 문의하십시오 | 문의하십시오 | 문의하십시오 | 문의하십시오 | 문의하십시오 | 문의하십시오 | 문의하십시오 |
| RF10125 | 문의하십시오 | 문의하십시오 | 문의하십시오 | 문의하십시오 | 문의하십시오 | 문의하십시오 | 문의하십시오 | 문의하십시오 |
| RF10150 | 문의하십시오 | 문의하십시오 | 문의하십시오 | 문의하십시오 | 문의하십시오 | 문의하십시오 | 문의하십시오 | 문의하십시오 |
| RF12200 | 문의하십시오 | 문의하십시오 | 문의하십시오 | 문의하십시오 | 문의하십시오 | 문의하십시오 | 문의하십시오 | 문의하십시오 |
| RF12250 | 문의하십시오 | 문의하십시오 | 문의하십시오 | 문의하십시오 | 문의하십시오 | 문의하십시오 | 문의하십시오 | 문의하십시오 |
| RF17200 | 문의하십시오 | 문의하십시오 | 문의하십시오 | 문의하십시오 | 문의하십시오 | 문의하십시오 | 문의하십시오 | 문의하십시오 |
| RF17250 | 문의하십시오 | 문의하십시오 | 문의하십시오 | 문의하십시오 | 문의하십시오 | 문의하십시오 | 문의하십시오 | 문의하십시오 |
| RF17300 | 문의하십시오 | 문의하십시오 | 문의하십시오 | 문의하십시오 | 문의하십시오 | 문의하십시오 | 문의하십시오 | 문의하십시오 |
※상기 표에 게재가 없는 사양・사이즈, 쇼트 타입, 편성품은 매번 견적이 되므로, 문의해 주세요.

