기타 전용 스프로킷

- 전용 스프로킷을 라인 업하고 있습니다.
- BS/DIN 장치 용 스프로킷, 토크리미터 용 스프로킷 등 각종 요망에 부응합니다.
- *BS체인용 스프로킷:BS/DIN의 규격품(적용 체인 사이즈:RF06B~RS16B)
- *토크리미터 용 스프로킷:센터 멤버 마찰면 마무리 완료(적용 체인 사이즈:RS40~RS100)
BS 체인용 스프로킷
- BS 규격(유럽 규격)의 롤러 체인에는 전용 BS 스프로킷 필요합니다.
(JIS 규격품인 RS 스프로킷은 치폭·외경 치수가 다르기 때문에 사용하실 수 없습니다.) - 수주 생산품이기 때문에, 치수 일람에 게재하고 있지 않는 사이즈, 이끝 경화 사양, 축 구멍 가공에도 대응할 수 있습니다. 당사에 상담해 주십시오.
- 치수 일람에 게재하지 않은 사이즈(예: 20B, 56B 등)에도 대응할 수 있습니다. 당사에 상담해 주십시오.
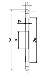
치수・스펙
주) 스프로킷 사양 선정시
・고객의 사용 환경이나 이용의 체인 사양에 대응한 스프로킷 사양의 선정이 필요합니다. 자세한 것은 각종 체인과 스프로킷의 적합표를 참조 바랍니다.
・축 구멍은 파일럿 홀 그대로이므로, 사용시에는 고객이 축 구멍 가공이 필요합니다. 축 구멍 가공이 끝난 제품을 요구하는 경우는 이쪽
토크리미터 용 스프로킷
- 기계식 과부하 보호 기기 의 토크리미터는 정확하고 신뢰할 수있는 과부하를 감지하기 위해 센터 멤버 마찰 표면을 마무리하는 것이 중요합니다.
- 토크리미터 용 스프로킷은 특수 표면 가공에 의해 표면 거칠기의 이상적인 마무리를 실현했습니다.
형번 표시 예
| RS40 | - | 1 | A | 21T | - | CM | 30 |
| | 사이즈 |
| 열수 |
| 허브 형식 |
| 잇수 |
| | |
| 마무리 축 구멍 직경 d |
||
| 토크리미터 용 스프로킷 | |||||||
| 체인 № |
RS40 | RS50 | RS60 | RS80 | RS100 |
|---|---|---|---|---|---|
| W | 6.5 | 8.0 | 10.5 | 13.5 | 16.0 |
| t | 7.3 | 8.9 | 11.9 | 15.0 | 18.0 |
- ・사용 조건:스프로킷 W치수 > 토크리미터 타부슈폭
(같은 치수의 경우도 사용할 수 없습니다) - ・그 외의 치수는 표준 스프로킷 1A 타입과 동일합니다.
- ・d 및 Dw는 「토크리미터 와의 적합표」를 참조해 주십시오.
- ・d는 H7로 완성하고 있습니다.
*각부 치수에 대해서는 반드시 토크리미터의 카탈로그 등에서 확인해 주십시오.
*주문 시에는 반드시 토크리미터 형번을 지시해 주십시오.
토크리미터 와의 적합표
적합 스프로킷 범위 dx Dw
RS40
| 잇수 | 16 | 17 | 18 | 19 | 20 | 21 | 22 | 23 | 24 | 25 | 26 | 27 | 28 | 30 | 32 | 34 | 35 | 36 | 38 | 40 | 42 | 45 | 48 | 50 |
|---|---|---|---|---|---|---|---|---|---|---|---|---|---|---|---|---|---|---|---|---|---|---|---|---|
| TL200 | 30x53 | |||||||||||||||||||||||
| TL250 | 41x68 | |||||||||||||||||||||||
| TL350 | 49x92 | |||||||||||||||||||||||
RS50
| 잇수 | 16 | 17 | 18 | 19 | 20 | 21 | 22 | 23 | 24 | 25 | 26 | 27 | 28 | 30 | 32 | 34 | 35 | 36 | 38 | 40 | 42 | 45 | 48 | 50 |
|---|---|---|---|---|---|---|---|---|---|---|---|---|---|---|---|---|---|---|---|---|---|---|---|---|
| TL250 | 41x68 | |||||||||||||||||||||||
| TL350 | 49x92 | |||||||||||||||||||||||
| TL500 | 74x132 | |||||||||||||||||||||||
RS60
| 잇수 | 16 | 17 | 18 | 19 | 20 | 21 | 22 | 23 | 24 | 25 | 26 | 27 | 28 | 30 | 32 | 34 | 35 | 36 | 38 | 40 | 42 | 45 | 48 | 50 |
|---|---|---|---|---|---|---|---|---|---|---|---|---|---|---|---|---|---|---|---|---|---|---|---|---|
| TL350 | 49x92 | |||||||||||||||||||||||
| TL500 | 74x132 | |||||||||||||||||||||||
| TL700 | 105x184 | |||||||||||||||||||||||
RS80
| 잇수 | 16 | 17 | 18 | 19 | 20 | 21 | 22 | 23 | 24 | 25 | 26 | 27 | 28 | 30 | 32 | 34 | 35 | 36 | 38 | 40 | 42 | 45 | 48 | 50 |
|---|---|---|---|---|---|---|---|---|---|---|---|---|---|---|---|---|---|---|---|---|---|---|---|---|
| TL500 | 74x132 | |||||||||||||||||||||||
| TL700 | 105x184 | |||||||||||||||||||||||
RS100
| 잇수 | 16 | 17 | 18 | 19 | 20 | 21 | 22 | 23 | 24 | 25 | 26 | 27 | 28 | 30 | 32 | 34 | 35 | 36 | 38 | 40 | 42 | 45 | 48 | 50 |
|---|---|---|---|---|---|---|---|---|---|---|---|---|---|---|---|---|---|---|---|---|---|---|---|---|
| TL700 | 105x184 | |||||||||||||||||||||||
* RS40 스프로킷으로 TL250 · TL350을 사용할 때는 부시 폭을 확인하십시오.
* 토크리미터에 맞춘 스프로킷에 대응합니다. 또 이 다른 특수 치수에도 대응합니다.
