기술자료 직선 작동기 리니스피드잭 허용 오버행 로드
허용 오버행 로드
입력축에 스프로킷, 기어, 벨트 등을 설치하는 경우에는, 축에 작용하는 오버행 로드가 허용 오버행 로드 이하가 되는 것을 다음 식에 의해 확인해 주십시오.
허용 OHL ≧ T×f×Lf R
OHL: 오버행 로드 N
T:입력 토크 N・m
f: 전동 요소 계수
Lf: 하중의 작용 위치에 따른 계수
R : 스프로킷, 기어, V 풀리 등의 피치 원 반경 m
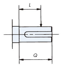
L: 하중의 작용 위치
Q: 축 길이
표 2 전동 요소 계수 (f)
| 체인 | 1.00 |
|---|---|
| 기어, 톱니 부착 벨트 | 1.25 |
| V 벨트 | 1.50 |
| 평 벨트 | 2.50 |
표 1 입력축 허용 오버행 로드
| SJ015H | SJ030H | SJ050H | |
|---|---|---|---|
| 허용 OHL (N) |
830 | 1280 | 1760 |
표 3 하중의 작용 위치에 따른 계수(Lf)
| L/Q | 0.5 이하 | 0.75 | 1 |
|---|---|---|---|
| Lf | 1 | 1.5 | 2 |
