기술자료 대형 컨베이어 체인 취급

7. 사용 한계

컨베이어 체인의 각 부품의 사용 한계에 대해 설명하므로 정기적으로 각부의 마모 정도를 점검하십시오.

이 사용 한계는 컨베이어 체인 자체의 성능에서 결정한 값입니다.

체인과 스프로킷은 동시에 교체하십시오.

7.1 각부의 사용 한계

7.1.1 R 롤러/F 롤러

촉궤면 및 부시와의 슬라이딩 부분의 마모에 의해, 플레이트의 하면이 레일에 맞추기 시작할 때를 가지고 한계로 합니다.

R・F 롤러의 한계

R・F 롤러의 한계

덧붙여 레일에 구부러진 부분이 있는 경우는, 아래 그림과 같이 S에 상당하는 치수만 마모되는 곳이 적어지므로, 주의해 주십시오.

마모의 감소

마모의 감소

7.1.2 S·M·N 롤러

마모에 의해 롤러 두께가 40%가 되었을 때.

7.1.3 부시

마모에 의해 부시 두께가 40%가 되었을 때(외관에서는 점검할 수 없습니다).

7.1.4 C핀

마모에 의해 핀 지름이 85%가 되었을 때(외관에서는 점검할 수 없습니다)

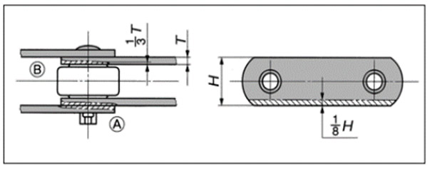
7.1.5 플레이트 플레이트 두께 및 폭 마모

플레이트 사이의 슬라이딩과 롤러 측면과 플레이트 내부의 슬라이딩은 아래 그림 (왼쪽)의 AB와 같이 마모를 일으 킵니다.

마모량이 플레이트의 정규판 두께의 1/3을 넘을 때 수명이라고 생각합니다.

또, 플로우 컨베이어의 체인과 같이 플레이트가 직접 반송물, 혹은 철판 위를 미끄러지는 경우에는, 아래 그림(오른쪽)과 같이 플레이트의 판폭 H가 1/8H 정도 마모했을 때가 수명입니다.

플레이트 마모

플레이트 마모

7.1.6 체인의 마모 신장

체인은 스프로킷에 맞물릴 때나 레일의 구부러진 부분에서 구부러집니다. 이 때의 부시와 핀의 슬라이딩에 의한 마모에 의해 체인의 전체 길이가 늘어납니다.

이 체인의 신장의 한도는, 통상 기준 길이(피치×링크수)의 2%(피치 100mm라면 1링크당 2mm의 신장)로 하고 있습니다.

  • 1) 체인 길이 측정 방법
    체인 길이를 측정하는 방법

    장력이 걸리는 곳에서 위 그림과 같이 가능한 한 많은 짝수 링크(적어도 4 링크 이상)를 측정해 주십시오.

    측정 위치는 (A) 또는 (B)로 측정해 주십시오.

    (A) 핀의 중심에서 중심까지

    (B) 핀의 한쪽 끝에서 한쪽 끝까지

  • 2) 체인 신장률(%)

    A, B 어느 방법으로 체인의 길이를 측정하고, 기준 길이와 대비하여 체인의 신장률(%)을 구해 주십시오.

    체인 신장 = 측정 치수 - 기준 길이 기준 길이 × 100(%)

7.1.7 스프로킷 치면 마모, 측면 마모

스프로킷의 치부가 마모된 상태에서 체인이 맞물리면 체인의 마모가 빨라질 수 있습니다.

스프로킷도 체인과 마찬가지로 정기적으로 점검을 하십시오.

  • 1) 스프로킷 치면의 마모 한계는 아래 그림을 기준으로 하십시오.

    치면 마모

    치면 마모

    치아 측 마모

    치아 측 마모
  • 2) 치부가 마모되어 있는 경우에는 교체를 권장합니다. 이뿌리 마모된 경우 반전하여 그대로 사용하지 마십시오.