기술자료 소형 컨베이어 체인 선정
선정 순서나 주의사항 등을 보시고 싶은 분은 아래로 진행하십시오.
제품 시리즈의 좁히기나 가선정을 희망하시는 분은
여기를 클릭하십시오.
사용 조건이 정해져 상세한 선정을 희망하시는 분은
여기를 클릭하십시오.
소형 컨베이어 체인의 선정 순서
컨베이어의 종류, 용량에 따라 적당한 체인 사이즈, 형식을 선정합니다. 컨베이어의 사용 조건에 따라 여러가지 경우가 생각되며, 일반적으로는 결정되지 않는 경우도 있습니다만, 일반적으로 다음의 순서로 실시합니다.
1. 반송 조건 확인

2. 체인 품종의 임시 결정

3. 롤러와 어태치먼트의 허용 부하 확인

4. 체인에 작용하는 최대 장력의 계산

5. 체인 크기 결정

6. 간헐 운전의 경우의 체인 선정법
순서 1. 반송 조건의 확인
- 1. 컨베이어 종류 (슬랫 컨베이어, 버킷 컨베이어 등)
- 2. 반송 방향(수평, 경사, 수직 반송)
- 3. 반송물의 종류, 질량, 치수
- 4. 반송량, 반송 간격
- 5. 컨베이어 속도
- 6. 컨베이어 길이
- 7. 윤활 유무
- 8. 반송의 분위기(온도, 부식 요인)
절차 2. 체인 품종의 임시 결정
체인에 작용하는 정적 최대 장력(F)을 구합니다.
SI 단위 F(kN) = W × f 1 × K V × G 1000
중력 단위 F{kgf} = W × f 1 × K V
W = 컨베이어상의 반송물 총 질량 {중량} kg{kgf}
f 1 = 마찰 계수 (표 3) K V = 속도 계수 (표 4)
G = 9.80665m/s2
F(체인이 병렬일 때는 F × 0.6) 이상의 최대 허용 장력 가지고
체인 형식과 크기를 임시 결정합니다.
소형 컨베이어 체인 (스테인리스 엔 엔지니어링 플라스틱 제 ※ 제외)의 최대 허용 장력은 피로 한도를 하한으로 하고 있습니다.
이 값 이하의 하중이면 반복 부하를 가해도 소형 컨베이어 체인의 파괴는 일어나지 않습니다.
※스테인리스제・ 엔지니어링 플라스틱 제 핀과 부시 사이의 면압을 마모 성능으로부터 상정해, 최대 허용 장력을 결정하고 있습니다.
3단계. 허용 부하 확인
로드 방식의 컨베이어 등으로 롤러 또는 어태치먼트에 작용하는 하중은 표 1, 표 2의 값 이하로 해 주십시오.
표 1 본체 롤러의 허용 부하
| 사이즈 | 더블피치 어태치먼트 부착 RS형(표준 사양) 람다 · 긴 수명 람다 |
스테인리스 롤러 (SS, AS) |
플라스틱롤러 | 플라스틱롤러 KV 사양 |
저소음 플라스틱롤러 |
프라콤비체인 | |||
|---|---|---|---|---|---|---|---|---|---|
| R 롤러 | S 롤러 | R 롤러 | S 롤러 | R 롤러 | S 롤러 | R 롤러 | R 롤러 | ||
| RS25 | - | - | - | - | - | - | - | - | 0.005 {0.5} |
| RS35 | - | - | - | - | - | - | - | - | 0.015 {1.5} |
| RF2040・RS40 | 0.64 {65} | 0.15 {15} | 0.20 {20} | 0.05 {5} | 0.20 {20} | 0.02 {2} | 0.20 {20} | 0.14 {14} | 0.02 {2.0} |
| RF2050・RS50 | 0.98 {100} | 0.20 {20} | 0.29 {30} | 0.06 {6} | 0.29 {30} | 0.03 {3} | 0.29 {30} | 0.21 {21} | 0.04 {4.0} |
| RF2060・RS60 | 1.57 {160} | 0.29 {30} | 0.49 {50} | 0.09 {9} | 0.49 {50} | 0.05 {5} | 0.49 {50} | 0.34 {35} | 0.06 {6.0} |
| RF2080・RS80 | 2.65 {270} | 0.54 {55} | 0.78 {80} | 0.15 {15} | 0.88 {90} | 0.09 {9} | - | 0.62 {63} | - |
| RF2100・RS100 | 3.92 {400} | 0.78 {80} | 1.18 {120} | 0.25 {25} | 1.27 {130} | - | - | - | - |
| RF2120・RS120 | 5.88 {600} | 1.18 {120} | 1.77 {180} | 0.34 {35} | - | - | - | - | - |
| RS140 | - | 1.32 {135} | - | 0.39 {40} | - | - | - | - | - |
| RF2160・RS160 | 9.61 {980} | 1.91 {195} | 2.75 {280} | 0.54 {55} | - | - | - | - | - |
| BS 어태치먼트 부착 | |
|---|---|
| 사이즈 | 표준 사양 |
| RF06B | 0.073 {7} |
| RS08B | 0.15 {15} |
| RS10B | 0.2 {20} |
| RS12B | 0.29 {30} |
| RS16B | 0.54 {55} |
| RS20B | 0.79 {81} |
| RS24B | 1.37 {140} |
본체 롤러의 허용 부하
주)
- 1. 윤활 상태에서의 값입니다. 더블피치, 어태치먼트 부착 RS형에는 내환경 체인(NP· NEP사양)을 포함합니다.
- 2. 프라콤비체인 는 안쪽 링크의 밑면을 받으면 1 개당 허용 부하입니다.
- 3. 표준 사양 R 롤러의 가이드 레일의 재질은 S45C 이상의 고항장력재를 사용해 주십시오.
- 4. 니들부쉬체인, 니들케이지체인에 대해서는 제품정보 페이지를 참조하십시오.
표 2A 어태치먼트의 허용 부하
A형 어태치먼트가 허용 가능한 수직 하중입니다.
고객이 설치할 수 있는 어태치먼트의 형상・구조에 따라서는 A어태치먼트를 비틀어주는 힘이 발생하는 경우가 있으므로 그 때에는 문의해 주십시오.
| 더블피치체인 | RS형 체인 | ||||
|---|---|---|---|---|---|
| 사이즈 | 더블피치 주1 | 스테인리스 | 사이즈 | 어태치먼트 부착 주1 | 스테인리스 |
| RF2040 | 0.262 {26.7} | 0.108 {11.0} | RS25 | 0.028 {2.9} | 0.012 {1.2} |
| RF2050 | 0.455 {46.4} | 0.189 {19.3} | RS35 | 0.094 {9.6} | 0.036 {3.7} |
| RF2060 | 1.06 {108} | 0.419 {42.7} | RS40 | 0.130 {13.3} | 0.054 {5.5} |
| RF2080 | 1.67 {170} | 0.646 {65.9} | RS50 | 0.243 {24.8} | 0.101 {10.3} |
| RF2100 | 2.51 {256} | 1.15 {117} | RS60 | 0.376 {38.3} | 0.148 {15.1} |
| RF2120 | 3.68 {375} | 1.79 {183} | RS80 | 0.591 {60.3} | 0.233 {23.8} |
| RF2160 | 5.84 {596} | 3.13 {319} | RS100 | 0.933 {95.1} | 0.361 {36.8} |
| RS120 | 1.39 {142} | 0.629 {64.1} | |||
| RS140 | 1.82 {186} | 0.869 {88.6} | |||
| RS160 | 2.36 {241} | 1.19 {121} | |||
주)
- 1. 내환경 체인(NP· NEP사양)을 포함합니다.
- 2. 니들부쉬체인, 니들케이지체인에 대해서는 제품정보 페이지를 참조하십시오.
| BS 어태치먼트 부착 체인 | |
|---|---|
| 사이즈 | 표준 사양 |
| RF06B | 0.09 {9} |
| RS08B | 0.2 {20} |
| RS10B | 0.13 {13} |
| RS12B | 0.21 {21} |
| RS16B | 1.18 {120} |
| RS20B | 0.97 {99} |
| RS24B | - |
- ・A 어태치먼트의 1개가 허용할 수 있는 수직부하의 작용점은 어태치먼트의 설치구멍의 위치로 합니다.
- ・K 어태치먼트는 A 어태치먼트의 2배가 됩니다.
- ・롤러의 허용부하를 넘지 않도록 주의해 주십시오.
절차 4. 체인에 작용하는 최대 장력(F) 계산
카탈로그에서는 SI단위와 중력단위를 병기하고 있습니다. 중력 단위로 최대 장력을 계산하는 경우의 중량(kgf)은 질량(kg)과 동일한 수치입니다.
- F = 체인에 작용하는 정적 최대 장력: kN{kgf}
- V = 반송 속도(체인 속도):m/min
- H = 스프로킷 중심 거리(수직 방향): m
- L = 스프로킷 중심 거리(수평 방향):m
- C = 스프로킷 중심 거리: m
- M = 운행부의 질량{중량}:체인 ※, 버킷, 앞치마 등의 질량{중량}:kg/m{kgf/m}
- W = 컨베이어상의 반송물 총 질량 {중량} 최대값: kg{kgf}
카즈물의 경우: W = C 적재 간격 × 반송 물질량 {중량} - kW = 소요 동력
- f 1 = 체인과 가이드 레일 사이의 마찰 계수 (표 3)
- η = 구동부의 전동 기계 효율
- G = 중력 가속도: 9.80665m/s 2
※체인을 2개 병렬로 사용하는 경우는, 2조분의 체인 중량이 됩니다.
※정역 운전을 자주 실시하는 경우는 테이크업에 의해 체인의 처짐을 취할 필요가 있으므로, 아래와 같은 계산식과는 다릅니다.
테이크업으로 체인의 처짐을 취하는 경우는, 이쪽의 Q&A6의 계산식을 사용해 주세요.
표 3-1 f 1: 본체 체인의 롤러가 레일 위를 굴릴 때의 마찰 계수
| 롤러 구분 |
스틸 롤러 | 람다 체인 |
플라스틱롤러 주 | 저소음 플라스틱롤러 |
니들 부시 체인 |
|
|---|---|---|---|---|---|---|
| 윤활(무) | 윤활(유) | 윤활(무) | 윤활(무) | |||
| R 롤러 | 0.12 | 0.08 | 0.08 | 0.08 | 0.1 | 0.21 |
| S 롤러 | 0.21 | 0.14 | 0.14 | - | - | - |
주) 플라스틱롤러 에는 KV 사양을 포함합니다.
표 3-2 f 1: 체인 플레이트가 레일 위로 미끄러질 때의 마찰 계수
| 스틸 플레이트 | 프라콤비체인 | |
|---|---|---|
| 윤활(무) | 윤활(유) | |
| 0.3 | 0.2 | 0.25 |
계산식
| SI 단위 | {중력 단위} |
|---|---|
|
수평 이송 반송물을 실어 운반하는 경우 F = (W + 2.1 × M × C) × f1 × G 1000 kW = F × V 6120 × 1 η
F = (W + 2.1 × M × C) × f1 kW = F × V 6120 × 1 η |
|
|
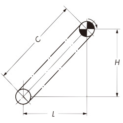
수직 반송 F = (W + M × C) × G 1000 kW = W × V 60 × G 1000 × 1 η
F = W + M × C kW = W × V 6120 × 1 η |
|
|
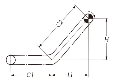
경사 반송 ※ 반송물을 실어 운반하는 경우
F = (W + M × C) L × f1 + H C + 1.1 × M × (L × f1 - H) × G 1000 kW = V 60 F - M × (H - L × f1) G 1000 × 1 η F = (W + M × C) L × f1 + H C + 1.1 × M × (L × f1 - H) kW = V 6120 F - M × (H - L × f1) × 1 η 주)※표시 F의 식에서 L × f 1- H < 0일 때는 L × f 1- H = 0으로 합니다. 또, kW의 식으로 H - L × f 1 < 0일 때는 H - L × f 1 = 0으로 합니다. |
|
|
수평·경사 반송 ※ 반송물을 실어 운반하는 경우
F =
(
W
C1 + C2
+ 2.1 × M) C1 × f1+
(
W
C1 + C2
+ M) × (L1 × f1 + H)
kW = V 60 F - M × (H - L1 × f1) G 1000 × 1 η F =
(
W
C1 + C2
+ 2.1 × M) × C1 × f1+
(
W
C1 + C2
+ M) × (L1 × f1 + H)
kW = V 6120 F - M × (H - L1 × f1) × 1 η 주)※표시 F의 식에서 L1 × f1-H<0일 때는 L1 × f1-H=0으로 합니다. 또한, kW의 식에서 HL 1 × f 1 < 0일 때는 H - L 1 × f 1 = 0으로 한다. |
|
5단계. 체인 크기 결정
체인에 작용하는 최대 장력(F)에 표 4의 속도 계수(K V)를 곱하여 다음 식을 만족하는 체인을 선정합니다.
F × K V ≤ 체인의 최대 허용 장력
표 4 속도 계수 (K V)
| 체인 속도 m/min | 속도 계수 (Kv) |
|---|---|
| 15 이하 | 1.0 |
| 15~30 | 1.2 |
| 30~50 | 1.4 |
| 50~70 | 1.6 |
| 70~90 | 2.2 |
| 90~110 | 2.8 |
| 110~120 | 3.2 |
아래 체인의 권장 속도는 다음과 같습니다.
|
30m/min以下 |
|
70m/min以下 |
표 5 소형 컨베이어 체인의 강도(단위: kN{kgf})
| 사이즈 | 범용 체인 | 람다체인 긴 수명 람다체인 |
|---|---|---|
| RF2040 | 2.65 {270} | 2.65 {270} |
| RF2050 | 4.31 {440} | 4.31 {440} |
| RF2060 | 6.28 {640} | 6.28 {640} |
| RF2080 | 10.7 {1090} | 10.7 {1090} |
| RF2100 | 17.1 {1740} | 17.1 {1740} |
| RF2120 | 23.9 {2440} | 23.9 {2440} |
| RF2160 | 40.9 {4170} | - |
| 사이즈 | 스테인리스 더블피치 | 코팅 더블피치 | |||||
|---|---|---|---|---|---|---|---|
| SS사양 | HS사양 | AS사양 | NS사양 | LSK 사양 | NP사양 | NEP사양 | |
| RF2040 | 0.69 {70} | 1.19 {121} | 0.69 {70} | 0.44 {45} | 0.44 {45} | 2.65 {270} | 2.65 {270} |
| RF2050 | 1.03 {105} | 1.85 {189} | 1.03 {105} | 0.69 {70} | 0.69 {70} | 4.31 {440} | 4.31 {440} |
| RF2060 | 1.57 {160} | 2.78 {283} | 1.57 {160} | 1.03 {105} | 1.03 {105} | 6.28 {640} | 6.28 {640} |
| RF2080 | 2.65 {270} | 4.77 {486} | 2.65 {270} | 1.77 {180} | - | 10.7 {1090} | 10.7 {1090} |
| RF2100 | 2.55 {260} | - | - | - | - | 17.1 {1740} | 17.1 {1740} |
| RF2120 | 3.82 {390} | - | - | - | - | 23.9 {2440} | - |
| RF2160 | 6.37 {650} | - | - | - | - | 40.9 {4170} | - |
| 사이즈 | 범용 시리즈 | 저소음 시리즈 | 내열 사양 | |||||
|---|---|---|---|---|---|---|---|---|
| 표준 사양 | NP사양 | SS사양 | SP 롤러 | 표준 사양 | NP사양 | SS사양 | ||
| RF2040 | 0.44 {45} | 0.44 {45} | 0.44 {45} | 0.23 {23} | 0.44 {45} | 0.44 {45} | 0.44 {45} | 0.44 {45} |
| RF2050 | 0.69 {70} | 0.69 {70} | 0.69 {70} | 0.34 {34} | 0.69 {70} | 0.69 {70} | 0.69 {70} | 0.69 {70} |
| RF2060 | 1.03 {105} | 1.03 {105} | 1.03 {105} | 0.54 {55} | 1.03 {105} | 1.03 {105} | 1.03 {105} | 1.03 {105} |
| RF2080 | 1.77 {180} | 1.77 {180} | 1.77 {180} | 0.88 {89} | 1.77 {180} | 1.77 {180} | 1.77 {180} | - |
| RF2100 | 2.55 {260} | 2.55 {260} | 2.55 {260} | - | - | - | - | - |
| 사이즈 | 범용 사양 | LMC 사양 | NP사양 | SS사양 |
|---|---|---|---|---|
| RF2040 | 1.77 {180} | 1.47 {150} | 1.77 {180} | 0.44 {45} |
| RF2050 | 3.14 {320} | 2.55 {260} | 3.14 {320} | 0.69 {70} |
| RF2060 | 4.22 {430} | 3.43 {350} | 4.22 {430} | 1.03 {105} |
| RF2080 | 7.65 {780} | 6.18 {630} | 7.65 {780} | 1.77 {180} |
| 사이즈 | 범용 사양 |
|---|---|
| RF2040 | 1.86 {190} |
| RF2050 | 2.84 {290} |
| RF2060 | 4.02 {410} |
| RF2080 | 6.96 {710} |
간헐 이송 체인
| 사이즈 | 표준 사양 | 고정밀 사양 | 스테인리스 사양 |
|---|---|---|---|
| RF2040 | 0.78 {80} | 0.78 {80} | 0.44 {45} |
| RF2050 | 1.27 {130} | 1.27 {130} | 0.69 {70} |
| RF2060 | 1.77 {180} | 1.77 {180} | 1.03 {105} |
| RF2080 | 2.94 {300} | 2.94 {300} | 1.77 {180} |
| 사이즈 | 최대 허용 장력 |
|---|---|
| RF2040 | 0.45 {45} |
| RF2050 | 0.69 {70} |
| RF2060 | 1.03 {105} |
| RF2080 | 1.77 {180} |
| 사이즈 | 최대 허용 장력 |
|---|---|
| BCM12.5-9 | 0.3 {30} |
| BCM15-9 | 0.3 {30} |
| 사이즈 | 최대 허용 장력 |
|---|---|
| BC050 | 0.49 {50} |
| BC075 | 0.69 {70} |
| BC100 | 0.69 {70} |
| BC150 | 1.27 {130} |
| 사이즈 | 범용 체인 | 람다체인 | 긴 수명 람다체인 |
|---|---|---|---|
| RS25 | 0.64 {65} | - | - |
| RS35 | 1.52 {155} | 1.52 {155} | - |
| RS40 | 2.65 {270} | 2.65 {270} | 2.65 {270} |
| RS50 | 4.31 {440} | 4.31 {440} | 4.31 {440} |
| RS60 | 6.28 {640} | 6.28 {640} | 6.28 {640} |
| RS80 | 10.7 {1090} | 10.7 {1090} | 10.7 {1090} |
| RS100 | 17.1 {1740} | 17.1 {1740} | 17.1 {1740} |
| RS120 | 23.9 {2440} | 23.9 {2440} | - |
| RS140 | 32.4 {3300} | 32.4 {3300} | - |
| RS160 | 40.9 {4170} | - | - |
| 사이즈 | 스테인리스 어태치먼트 부착 RS형 체인 | 코팅 어태치먼트 부착 RS형 체인 | 프라콤비체인 | 플라스틱롤러 체인 |
|||||
|---|---|---|---|---|---|---|---|---|---|
| SS사양 | HS사양 | AS사양 | NS사양 | LSK 사양 (스테인리스 롤러) |
NP사양 | NEP사양 | SP 롤러 | ||
| RS25 | 0.12 {12} | - | - | 0.12 {12} | - | 0.64 {65} | - | 0.08 {8} | - |
| RS35 | 0.26 {27} | - | - | 0.26 {27} | - | 1.52 {155} | - | 0.18 {18} | - |
| RS40 | 0.69 {70} | 1.19 {121} | 0.69 {70} | 0.44 {45} | 0.44 {045} | 2.65 {270} | 2.65 {270} | 0.44 {45} | 0.23 {23} |
| RS50 | 1.03 {105} | 1.85 {189} | 1.03 {105} | 0.69 {70} | 0.69 {070} | 4.31 {440} | 4.31 {440} | 0.69 {70} | 0.34 {34} |
| RS60 | 1.57 {160} | 2.78 {283} | 1.57 {160} | 1.03 {105} | 1.03 {105} | 6.28 {640} | 6.28 {640} | 0.88 {90} | 0.54 {55} |
| RS80 | 2.65 {270} | 4.77 {486} | 2.65 {270} | 1.77 {180} | - | 10.7 {1090} | 10.7 {1090} | - | 0.88 {89} |
| RS100 | 3.82 {390} | - | - | - | - | 17.1 {1740} | 17.1 {1740} | - | - |
| RS120 | 3.82 {390} | - | - | - | - | 23.9 {2440} | - | - | - |
| RS140 | 4.61 {470} | - | - | - | - | 32.4 {3300} | - | - | - |
| RS160 | 6.37 {650} | - | - | - | - | 40.9 {4170} | - | - | - |
| 사이즈 | 범용 사양 | 람다 사양 | NP사양 | SS사양 |
|---|---|---|---|---|
| RS40 | 1.77 {180} | 1.47 {150} | 1.77 {180} | 0.44 {45} |
| RS50 | 3.14 {320} | 2.55 {260} | 3.14 {320} | 0.69 {70} |
| RS60 | 4.22 {430} | 3.43 {350} | 4.22 {430} | 1.03 {105} |
| RS80 | 7.65 {780} | 6.18 {630} | 7.65 {780} | 1.77 {180} |
| 사이즈 | 범용 사양 |
|---|---|
| RS40 | 1.86 {190} |
| RS50 | 2.84 {290} |
| RS60 | 4.02 {410} |
| RS80 | 6.96 {710} |
주)
- 1. SS사양, NS사양에 대해서는, 출하전의 도유를 실시하고 있지 않습니다. 수중 환경이나 물에 노출되는 환경 이외의 곳에서 사용할 경우에는 사용 전에 반드시 오일을 발라주십시오.
- 2. 급유 없이 사용하시면 조기에 체인이 굴곡 불량을 일으킬 가능성이 있습니다.
- 3. 최대 허용 장력은 급유 조건 하 (수 윤활 포함)에서의 값입니다.
순서 6. 간헐 운전의 경우의 체인의 선정법
인덱싱 장치 등을 이용하여 간헐운전에서 체인을 사용하는 경우에는 체인에 작용하는 장력은 일반 체인의 선정(마찰력에 기초한 장력 F) 이외에 관성에 의한 부가 장력 F1을 고려할 필요가 있습니다.
부가 장력 F1은 일반적으로 F1 = mα에 의해 구해진다. 이 공식을 기반으로 계산 절차를 설명합니다.
- m = 종동측의 총 질량(kg)
- α = 최대 가속도(m/s 2)
| SI 단위 | {중력 단위} | ||||||||
|---|---|---|---|---|---|---|---|---|---|
|
|||||||||
|
1) 종동측의 총 질량 m을 구합니다. m = W + M1 + 1 2 M2 주) 1 2 M 2: 스프로킷의 관성력을 체인으로 환산한 개략값입니다. |
|||||||||
|
2) 최대 가속도α(m/s 2)와 위식보다 관성에 의한 부가장력을 F1=mα에 의해 구합니다. 예를 들면, 캠식의 인덱스 장치를 사용한 경우, 최대 가속도 α는,
캠 곡선에 따라 Am 값을 사용하십시오.
자세한 내용은 인덱싱 메이커 각 회사에 확인하십시오. |
|||||||||
|
3) 관성에 의한 부가 장력을 고려한 전작용 장력 F Σ를 구합니다. FΣ = F + F1/1000 F:마찰력에 근거한 체인 장력(kN) 3) 관성에 의한 부가 장력을 고려한 전작용 장력 F Σ를 구합니다. FΣ = F + F1/G F:마찰력에 근거한 체인 장력(kN) G: 중력 가속도 9.80665(m/s 2) |
|||||||||
|
4) 체인 크기 결정 F Σ Kv ≤ 체인의 최대 허용 장력 Kv:속도 계수(표 4) |
|||||||||
|
5) 체인의 롤러 허용 부하의 체크도 실시해 주십시오. ×
(드래그로 이동할 수 있습니다)
윤활 상태에서의 사용을 전제로 하고 롤러 회전 불량을 일으키지 않는 기준의 값입니다. |
|||||||||

