기술자료 링 취급

엑트플렉스 커플링 NER 시리즈 취급

엑트플렉스 커플링 NER 시리즈에 관한 일반 취급에 대해 기재하고 있습니다. 자세한 내용은 제품에 첨부되어 있습니다 취급설명서를 참조하십시오.

1. 허브의 축에 설치

주의사항

  • ※1 커플링의 구성 부품을 취급설명서의 구성 부품 리스트와 대조해 주십시오.
  • ※2 센터 유닛은 공장에서 최적으로 조립하고 있습니다. 분해하지 않고 그대로 사용하십시오.
  • ※3 센터 유닛에는 특히 축 방향으로 큰 힘이 작용하지 않도록 하십시오. 디스크가 구부러진 상태로 고정되어 버려 성능을 손상시킬 우려가 있습니다.

설치 절차

  • (1) 구동축·피동축·허브 내경에 카에리, 상처, 더러움, 녹 등이 없는지 확인하고, 쓰레기나 유분을 닦아 주십시오.
  • (2) 각 축에 허브를 설치하십시오. 억지끼워맞춤의 경우는 가열유(150℃ 이하)로 허브를 균일하게 가열하고, 축상의 소정 위치에 재빠르게 설치해 주십시오.
  • (3) 허브의 플랜지 면간 치수는 다음 항 「2. 심출 (1) 플랜지 면간 치수 (J)의 조정」을 참조하십시오.

2. 배려

커플링의 첫 번째 밀어내기 정확도가 높을수록 사용 중에 발생하는 편심 회전 응력을 줄일 수 있습니다.

베어링의 마모, 설치면의 침하, 온도에 의한 상태 변화, 진동 등에 의한 사용중의 변화가 고객의 기기와 커플링의 수명을 짧게 합니다.

정기적으로 다음 절차에 따라 조정하십시오.

배려

커플링의 플랜지 면간 치수 오차, 허용 편각, 편심은 상관관계에 있으며, 한쪽이 증가하면 한쪽이 줄어들기 때문에 동시에 고려해야 합니다.

아래의 권장값 이하로 먼저 마음을 확실하게 실시해 주십시오.

(1) 플랜지 면간 치수(J)의 조정

센터 유닛의 전체 길이를 측정하고 그 값을 J 치수로 설정하십시오.
(부품 공차의 조합 상태에 따라 센터 유닛의 전체 길이가 기준치보다 길거나 짧아지는 경우가 있습니다. 그 경우 도면 기준 치수에서 J±0.5mm 이내에 허브를 세트해도 센터 유닛이 조립하기 어려울 수 있습니다.)

J치수를 90도마다 4곳 측정하고, 그 평균값이 J±0.5mm 이내가 되도록 허브의 위치를 조정해 주십시오. 구동축, 피동축이 단부 샤프트인 경우는 조정대가 제한되는 경우가 있으므로 미리 J치수가 조정가능하도록 배려해 주십시오.

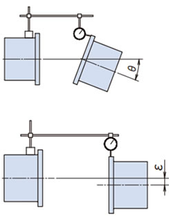
(2) 편각(θ)의 조정

  • (a) 그림과 같이 다이얼 게이지를 한쪽 허브에 고정하고, 그 허브를 회전시켜 다이얼 게이지의 최소 읽기를 찾아 0으로 설정합니다.
  • (b) 다이얼측의 허브를 360도 회전시켜 편각의 수치를 읽어 주십시오.
  • (c) 다이얼 게이지의 판독이 표 1의 편각 추천값의 범위에 들어가도록 기기를 심 등으로 이동시켜 조정해 주십시오.
편각(θ)의 조정

(3) 편심(ε)의 조정

  • (a) 그림과 같이 허브 플랜지에 다이얼 게이지를 설치하고, 그 허브를 회전시켜 다이얼 게이지의 최소 판독을 찾아 제로로 설정하십시오.
  • (b) 다이얼 게이지로 고정하고 있는 쪽의 허브를 360도 회전시켜 편심의 수치를 읽어 주십시오.
  • (c) 허브의 외주부의 플레가, 허브의 틈 구멍 부분으로, 이상하게 플레어하는 경우가 있습니다. 이것은, 홀 구멍 부분을 가공할 때, 플랜지가 외주 방향으로 부풀어 오르기 때문에, 그 부분을 피해 읽어 주세요.
  • (d) 다이얼 게이지의 판독이 표 1 또는 표 2의 편심 권장값의 2배 이내의 범위에 들어가도록 기기를 심 등으로 이동시켜 조정해 주십시오.
  • (e) 편심 조정을 위해 기기를 이동시킨 경우에는 다시 편각을 조정하십시오.
편각(ε) 조정
표 1. 추론 권장값/표준 스페이서
형번  추천 추천 값
편각 편심
ε[mm]
플랜지
면간 치수
J[mm]
θ
[deg]
T.I.R.
[mm]
NER59W 0.35 0.33 0.18 ±0.5
NER93W 0.35 0.39 0.22 ±0.5
NER230W 0.25 0.31 0.18 ±0.5
NER360W 0.25 0.36 0.22 ±0.5
NER630W 0.25 0.43 0.22 ±0.5
NER850W 0.25 0.48 0.25 ±0.5
표 2심리 추천값/롱 스페이서
형번  추천 추천 값
편각 편심
(산출식)
ε[mm]
플랜지
면간 치수
J[mm]
θ
[deg]
T.I.R.
[mm]
NER59W 0.35 0.33 (J-44.4)×0.31×10-2 ±0.5
NER93W 0.35 0.39 (J-50.6)×0.31×10-2 ±0.5
NER230W 0.25 0.31 (J-58.8)×0.22×10-2 ±0.5
NER360W 0.25 0.36 (J-70.0)×0.22×10-2 ±0.5
NER630W 0.25 0.43 (J-76.4)×0.22×10-2 ±0.5
NER850W 0.25 0.48 (J-86.6)×0.22×10-2 ±0.5

편각과 편심의 관계

편각과 편심의 관계

3. 센터 유닛 설치

  • (1) 취급설명서의 구성 부품도를 참조한 후, 센터 유닛을 허브에 설치해 주십시오.
    센터 유닛 설치

    그림 1. 센터 유닛 설치

    허브 외주와 센터 유닛 외주의 각 2곳(한쪽)에 합마크(선)가 있습니다.

    이들이 일치하는 위상으로하십시오.

    센터 유니트에 방향성은 없기 때문에, 좌우 어느 방향으로도 설치 가능합니다.

  • (2) 위치결정 볼트 및 육각구멍부착 볼트로 허브와 센터 유닛을 고정합니다.

    이 때 위치결정 볼트(머리 부분이 녹색인 볼트)는 합마크(선)부의 틈 구멍에 삽입하도록 해 주십시오. 다른 키리 구멍에는 들어 가지 않습니다.

    위치결정 볼트(두부가 녹색인 볼트)는 한쪽에서 180°대칭으로 2곳 사용합니다. (커플링 1대로 4곳)

    위치결정 볼트 및 육각구멍부착 볼트 삽입

    그림 2. 위치결정 볼트 및 육각구멍부착 볼트 삽입

    위치결정 볼트 및 육각구멍부착 볼트는 반드시 표 3의 「위치결정볼트 및 육각구멍부착 볼트의 체결토크」로 체결해 주십시오.

    표 3. 위치결정 볼트 및 육각구멍부착 볼트의 체결토크
    형번  볼트 사이즈 조임 토크
    [N·m]
    NER59W M6 14
    NER93W M6 14
    NER230W M6 14
    NER360W M8 34
    NER630W M10 67
    NER850W M10 67
  • (3) 조립이 끝나면 디스크 부분의 디스크 보호판을 분리하십시오.
    디스크 보호판

    디스크 보호판은 한쪽에 2개, 합계 4개 설치되어 있습니다.

4. 점검

실제 운전에 들어가 1~2시간 후에 편각과 편심을 다시 체크해 주십시오.

이때 위치결정 볼트 및 육각구멍부착 볼트를 표 3의 규정 토크로 재체결해 주십시오.

또, 반년~1년마다 부품의 이상이나 위치결정 볼트 및 육각구멍부착 볼트의 느슨함이 없는지 확인해 주십시오.

느슨한 점검을 위해 설치 후 위치결정 볼트 및 육각구멍부착 볼트와 허브에 마킹을 넣어 두는 것이 좋습니다.

다른 부품에도 이상이 없는지 확인하십시오.