기술자료 감속기 마이터 베벨 기어 박스 선정
선정 순서나 주의사항 등을 보시고 싶은 분은 아래로 진행하십시오.
제품 시리즈의 좁히기나 가선정을 희망하시는 분은
여기를 클릭하십시오.
사용 조건이 정해져 상세한 선정을 희망하시는 분은
여기를 클릭하십시오.
마이터기어박스 선정
선정에 필요한 조건
1. 사용 기계, 장비, 배치
2. 운전 조건
- ・원동기의 종류
- ・부하 토크 N·m 또는 전동 kW
- ・사용시간(시간/일, 연속・간헐)
- ・기동 정지 빈도(회/시간)
- · 입력 회전 속도 (항상 r/min, 최대 r/min)
- · 입력 축 방향 (래터럴 축 · 크로스 축)
- ・속비(1:1・1.5:1・2:1・2.5:1・3:1 등)
- ・부하의 성질(균일한 하중 ・다소의 충격이 수반되는 하중
3. 사용 분위기
- ・사용 환경(옥내・옥외・로 부근・냉동고 내・그 외)
- ・주위 온도(상시℃, 고온℃, 저온℃)
- ・주위 분위기:염해・먼지・산・그 외
4. 기타
- · 옵션, 특수 사양 등은 카탈로그를 참조하십시오.
※ 선정 사양 확인서도 이용해 주십시오.
선정 절차
선정 필요조건을 고려하여 아래의 순서로 선정을 실시합니다.
1. 서비스 요소 결정
카탈로그 기재의 전동능력표는 모두 서비스 요소를 1.0으로 한 경우의 값입니다.
사용 조건에 따라 표 1의 서비스 요소 표에서 서비스 요소를 결정하십시오.
2. 보정 토크 또는 보정kW 결정
서비스 요소를 고려한 후 보정 토크 또는 보정kW를 결정합니다.
보정 토크 또는 보정kW =
(마이터기어박스에 걸리는 부하 토크 또는 전동 kW) × 서비스 요소 (표 1)
표 1 서비스 요소
| 짐의 본질 | 운전시간 | ||
|---|---|---|---|
| 2시간 | 10시간 | 24시간 | |
| 균일한 하중 | 1.00 (1.00) |
1.00 (1.25) |
1.25 (1.50) |
| 다소 충격과 관련된 하중 | 1.00 (1.25) |
1.25 (1.50) |
1.50 (1.75) |
| 큰 충격과 함께 하중 | 1.25 (1.50) |
1.50 (1.75) |
1.75 (2.00) |
주)
- 1. 기동 정지가 1시간에 10회 이상인 경우 또는 원동기가 다통 엔진인 경우는 ( )안의 수치를 사용해 주십시오.
- 2. 상기 서비스 요소는 일반적인 기준입니다. 사용 조건을 고려하여 결정하십시오.
3. 크기 결정
사용회전속도에 있어서 보정토크 또는 보정kW를 만족하는 사이즈를 전동능력표에서 선정해 주십시오.
또한, 기동 정지시의 피크 토크가 선정한 사이즈의 전동 능력의 200% 이내에 가라앉고 있는지 확인해 주십시오.
4. 레이디얼 하중 확인
래터럴축, 크로스축에 스프로킷, 기어, 풀리 등을 설치하여 구동하는 경우는 레이디얼 하중을 아래식으로 확인해 주십시오.
・레이디얼 하중의 확인식
허용 레이디얼 하중 ≧ T × f × Lf r
- T = 보정 토크 N · m
- f = OHL 계수 (표 2)
- Lf = 작용 위치의 계수 (표 3)
- r = 스프로킷, 풀리 등의 피치 원 반경 m
레이디얼 하중을 확인한 결과, 좌식을 만족하지 않는 경우에는 r 즉 스프로킷, 풀리 등의 피치원 반경을 보다 큰 것으로 할 필요가 있습니다.
표 2 OHL 계수(f)
| 체인 | 1.00 |
|---|---|
| 기어 치아 벨트 |
1.25 |
| V 벨트・강력 톱니 부착 벨트 | 1.5 |
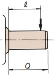
표 3 작용 위치 계수 (Lf)
| 하중이 축 중앙 또는 그것보다 안쪽에 걸리는 경우ℓ ≦ Q 2 |
Lf = 1 |
|---|---|
| 하중이 축 중앙에서 외부에 걸리는 경우 ℓ > Q 2 |
Lf = 2ℓ Q |
Q = 출력 축단의 길이 ℓ = 레이디얼 하중의 작용 위치
주) 레이디얼 하중과 축 하중이 동시에 걸리는 경우는 당사에 문의해 주십시오.
5. 축 배치·회전 관계, 설치 형식 결정 -형번 결정
- ・축 배치・회전 관계
축 배치·회전 관계에서 선택해 주십시오. (축의 회전 방향에 주의해 주십시오) - ・설치 형식
설치 형식에서 선택하십시오. (사이즈 2, 4는 그리스 윤활에서 설치 방향에 제한은 없습니다)
이상의 조건에 따라 형번을 결정해 주십시오.
6. 옵션·특수 사양 등의 검토
표준품 이외의 옵션, 특수 사양도 제작하므로 당사에 문의해 주십시오.
